Windows 7 64 位系统下载

Win7:免费下载,安装简单,硬件兼容,极速安全

如果您电脑是预安装的 Win10 系统,为避免兼容性问题,建议选择 Win10

视频教程:下载的系统如何安装

Windows 10 64 位系统下载

Win10:界面简洁,经典易用,运行流畅,自动安装

如果您电脑遇到死机卡顿各种问题,下载安装即可解决!

视频教程:下载的系统如何安装

当前位置:首页 > Win7资讯 > Windows10资讯

多触摸新手势或加入到Win10/WP10平板电脑

Windows10资讯2015-01-27 16:02:54
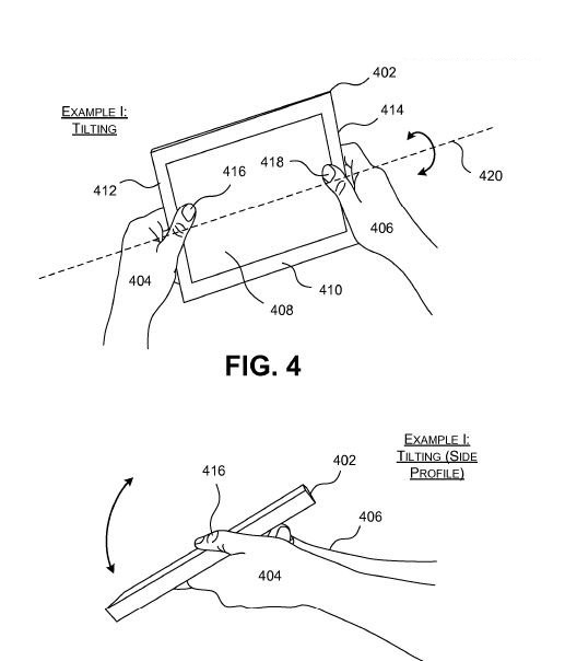
  微软最近有一份很有趣的关于“适合平板电脑设备的多触摸新手势”的专利文件遭到曝光,在这个Modern触摸界面上,用户能够在屏幕表面单指平行手势操作,而另一只手手指能够拖曳触摸屏。
多触摸新手势,Win10/WP10平板电脑
多触摸新手势,Win10/WP10平板电脑
  同样,用户也能够使用双指缩放同时,手指还能够靠近或靠远操作。这些技术会用到诸如加速计等传感器来增强体验,打个比方,例如设备屏幕转向横向显示时,UI也可以自动根据方向进行调整。微软方面正在为新的多点触摸(MTM)技术选择新的交互方式,而且将会在Win10或WP10平板电脑上等设备上得以呈现。
多触摸新手势,Win10/WP10平板电脑
标签:
多触摸新手势Win10/WP10平板电脑
关注微信 关注电脑粉 立即获取
Win7/8/10通用密钥
以及Office资源

Copyright ©2018-2020 win7.credit189.com 京ICP备14010074号-17